Указатель поворотов левый Isuzu NQR-71/75 4HG1/4HK1 Е-2/3 | JMC
Указатель поворотов левый Isuzu NQR-71/75 4HG1/4HK1 Е-2/3 | JMC
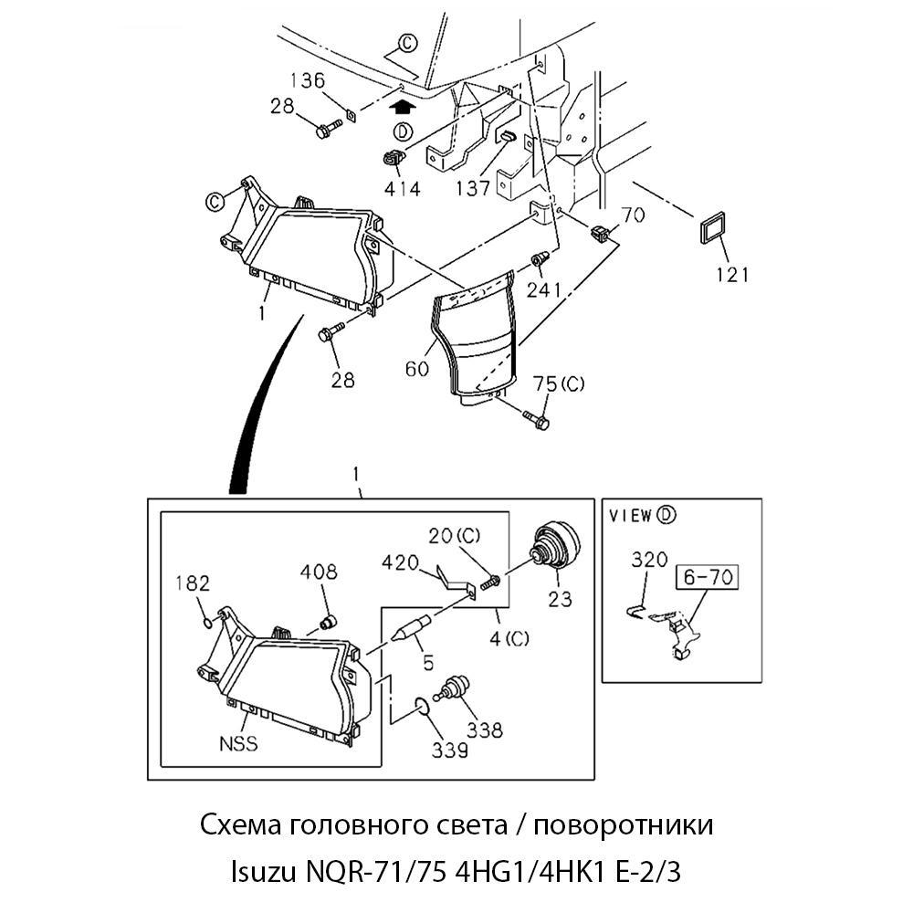
Артикул: 8980539410Левый указатель поворотов для автомобилей Isuzu NQR-71/NQR-75 с двигателями 4HG1/4HK1, экологические стандарты Евро-2/Евро-3. Отличается высокой светопропускаемостью и устойчивостью к механическим повреждениям.
Узнать цену В один клик
На заказ
Ваш уровень цен:
Начисляем 0 бонусов за покупку данного товара
| Марка | JMC |
| Тип запчасти | Аналог |
| Устанавливается на технику | Грузовая техника |
| Марка техники | Isuzu |
| Сторона установки | Левое |
| Тип излучателя | Галоген |
| Материал поверхности фары | Пластик |
| Место установки | Основной (передняя часть автомобиля / около блок фары) |
| Цвет линзы поворотника | Белая (Под желтую лампочку) |
| Вольтаж | 24 V |

